
詳情介紹:
高效纖維束過濾器是一種結構先進、性能優良的壓力式纖維過濾設備,它采用高分子丙綸纖維束作為過濾材料,其濾料直徑可達幾十微米甚至幾微米,達到了微米級。
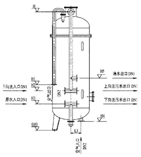
高效纖維束過濾器在化工廠應用中
主要性能參數表
規格(mm) 性能 | 300 | 500 | 800 | 1000 | 1200 | 1500 | 2000 | 2200 | 2500 | 3000 | 3200 | |
料層厚度(mm) | 1300 | |||||||||||
過濾速度(m/h) | 30 | |||||||||||
過濾水量(m3/h) | 2.1 | 6.2 | 15 | 24 | 34 | 53 | 94 | 114 | 147 | 210 | 241 | |
設備凈重(kg) | 188 | 342 | 987 | 1417 | 1622 | 2744 | 4373 | 5023 | 7267 | 9736 | 12536 | |
設備運行重量(kg) | 320 | 704 | 1980 | 3304 | 4390 | 8280 | 12035 | 16195 | 22177 | 32210 | 38900 | |
最大操作壓力 | 0.6MPa | |||||||||||
截污容量 | 5~10kg/m3(濾層) | |||||||||||
過濾壓頭損失 | 運行初始入口、出口壓差為0.02~0.04MPa;過濾失效時入口、出口壓差一般≤0.10MPa | |||||||||||
過濾精度 | 過濾前水中懸浮物 | 過濾后水中懸浮物 | ||||||||||
≤20mg/l | ≤2.0mg/l | |||||||||||
20~50mg/l | ≤5.0mg/l | |||||||||||
50~200mg/l | ≤20.0mg/l | |||||||||||
清洗操作壓力 | ≤0.05MPa | |||||||||||
清洗強度 | 3~81/m2秒 | |||||||||||
清洗空氣壓力 | 0.05MPa;最大不得超過0.10MPa(建議選用羅茨風機) | |||||||||||
清洗空氣強度 | 60~80/lm2秒 | |||||||||||
清洗時間 | 20~40min |
PLC控制系統
結構尺寸





